来源:北京科技大学课件
版权归原作者所有

一、概述


二、锚杆类型
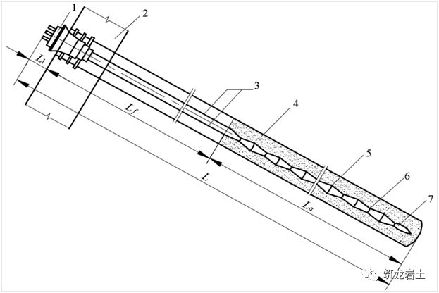
边坡工程中使用的锚杆是一种安设在岩土层深处的受拉杆件,其一端与工程构筑物相连,另一端锚固在岩土层中,必要时需对其施加预应力,以承受岩土压力、水压力或风荷载等所产生的拉力,再将拉力传递到深部稳定岩土层中,达到有效承受结构荷载及防止边坡变形失稳的目的。








三、锚杆结构



四、锚固作用机理




五、锚固要素分析

当锚固段较长时,初始荷载作用下,黏结应力峰值在临近自由段处,而锚固段下端的相当长度上,则不出现黏结应力;
随着荷载增大,黏结应力峰值向锚固段根部转移,但其前方的黏结应力则显著下降;
当达到极限荷载时,黏结应力峰值传递到接近锚固段根部,在锚固段前部较长的范围内,黏结应力值进一步下降,甚至趋近于零。
因此,能有效发挥锚固作用的黏结应力分布长度是有一定限度的,随锚固段长度的增加,平均黏结应力逐渐减小。




六、锚固设计计算


对可能产生圆弧滑动的锚固边坡,宜采用简化毕肖普法、摩根斯坦-普赖斯法或简布法计算,也可采用瑞典法计算;
对可能产生直线滑动的锚固边坡,宜采用平面滑动面解析法计算;
对可能产生折线滑动的锚固边坡,宜采用传递系数隐式解法、摩根斯坦-普赖斯法或萨玛法计算;
对岩体结构复杂的锚固边坡,可配合采用赤平极射投影法进行分析。






















锚固系统有多种破坏形式,设计时必须仔细校核各种可能的破坏形式。因此,除锚杆抗拉力应满足设计要求外,还必须验算锚杆和边坡岩土体组成的锚固系统整体稳定性。锚固系统的外部稳定性可采用圆弧滑动法或折线滑动法验算;内部稳定性可采用Kranz法验算。
以上内容来源于网络收集整理,如有侵权请联系客服