来源:网络
安装造价里,最难的莫过于建筑电气,为何?从电缆电线的区分到分别计算,从电气桥架到爬墙走线,从防雷接地到弱电智能化,每个环节都是比较复杂且难以弄懂的,本篇就带领各位安装造价人学习如何计算电气工程量及方法。一起来学习吧。
10 kV以下悬式绝缘子XP,以“串”计量;
10 kV以下户外高压熔断器WR,以“组”计量;
钢穿通板,以“块”计量;
10 kV以下穿墙导管CLB,以“个”计量;
10 kV以下避雷器FS,以“组”计量;
10 kV以下户内、外支持绝缘子ZA,以“个”计量;
支架、金具,以“kg”计算。
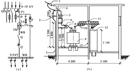
从进户装置起依序计算

断路器(QF)、负荷开关(QL)、隔离开关(QS),断、通正常负荷电路,保护和控制高压电器设备。安装包括所配备的电磁式、弹簧储能式、手动式等操作机构。
电流互感器(TA)、电压互感器(TV)作为测量电压、电流、电能及继电保护之用。
计算规则:上述装置均以“台”计量。
母线:有变配电装置高压母线和车间配电低压母线,注意区别。
常用硬母线:铜(TMY)、铝(LMY) 。
计算规则:单片“延长米”计算。
L母= (母线设计单片延长米长度+母线预留长度)×(1+2.3%)
制作安装损耗—2.3%
进出柜、箱、屏的导线需焊(压)接线端子时,以“个”计量。
高压、低压设备基座、支架:槽(角)钢基座、支架制安按“kg”、“m”计算。


沟体砌筑:土石方量“m3” ;沟底、壁砌砖 或浇筑“m3”; 沟壁、底抹水泥砂浆“m2”;沟盖板制作“m3” ; 采购时价值及运费。
参考《建筑工程预算定额》。
揭、盖电缆沟盖板:“m”计算;
沟内支架制安:钢“kg” 、砼“m3 ”计算。
计算规则:无论钢质、不锈钢、铝合金、玻璃钢、塑料质桥架,均按“m”计算。包括桥架每段间用5.5~16mm2的电气连通
跨接线及接地线和接地端子的安装。

管穿线长=(配管长度+导线预留长度)× 同截面导线根数
常用导线:单芯、多芯;铝芯、铜芯;塑料、橡胶绝缘。


以上内容来源于网络收集整理,如有侵权请联系客服