文章来源:建筑工程鲁班联盟
本文《装配式建筑防雷引下线设计及施工要点之探讨》刊于《福建建材》2019年第10期,作者:何增平(福州市建设工程质量监督站)。本文介绍了装配式建筑结构工艺及施工特点,结合GB50057-2010《建筑物防雷设计规范》的相关要求,针对现阶段装配式建筑防雷引下线的设计,探讨了其施工要点和措施,根据装配式建筑特点探讨了不同的防雷引下线设计思路及施工方法,非常值得大家参考学习。
装配式建筑指的是传统建筑中的梁、楼板、柱、墙、楼梯等通过工厂预制后在工地装配而成的建筑,优点是建造速度快,受气候条件制约小,节约劳动力并可提高建筑质量。装配式建筑取消了施工现场大部分的现浇、现砌工作,同时对于装配式建筑电气施工尤其是雷电防护上的施工提出了与以往不同的施工要求,相较于传统建筑防雷设计来说,现阶段装配式建筑防雷设计还不成熟,在施工过程中存在诸多问题。以某装配式建筑项目的防雷引下线设计为例,探讨现阶段装配式建筑的防雷设计思路,解决装配式建筑的防雷引下线施工难题。
装配式混凝土结构建筑特点
根据GB/T51231-2016《装配式混凝土建筑技术标准》的要求,装配式混凝土结构建筑分为装配整体框架结构建筑、装配整体式剪力墙结构建筑、装配式墙板结构建筑三类。第一类多用于公共建筑,第二类多用于住宅建筑,第三类适用于抗震设防类别为丙类的多层住宅。
某项目采用装配式框架-剪力墙结构+预制外墙板结构体系,由预制柱、预制叠合梁、预制叠合楼板、预制外墙板、预制楼梯等预制构件组成。这些预制构件均由预制构件厂生产后运输至施工现场,通过吊装设备按照吊装图纸装配而成,如图1所示。

图1 装配式混凝土结构建筑预制构件拆分图
由于装配式建筑是由各模块拼装而成,在预制构件连接方式上,其中梁、板之间的连接通常设计为预制加现浇层,而上、下层预制柱间纵向钢筋的连接则采用套筒灌浆技术连接。从图2可以看出,上部预制柱灌浆套筒与下部预制柱柱头钢筋之间的缝隙已被灌浆料填满,因此上、下层预制柱内的钢筋并没有形成连续的电气通路,当利用预制柱内主筋作为防雷引下线时,需要采取特殊措施。

图2 预制柱灌浆套筒连接示意图
(注:可查阅《图解装配式建筑施工的关键工艺——套筒灌浆》详细了解套筒灌浆工艺特点)
防雷引下线设计
引下线即用于将雷电流从接闪器传导至接地装置的导体。当利用混凝土内钢筋作引下线时,引下线的设计应根据GB50057-2010《建筑物防雷设计规范》第4.3.5条、第4.4.5条的规定选择合适的直径,同时还须根据规范中第4.3.3条、第4.4.3条要求按建筑物的防雷类别设置位置及数量。在传统现浇混凝土结构建筑中,建筑物的防雷设计均优先利用结构柱内对角两根主筋作为防雷引下线,通过钢筋螺纹套筒或搭接焊的形式很容易形成雷电电气通路,施工过程由现场的电气施工员与结构施工员配合完成,施工工序简单,省时、省材料。
而在装配式建筑防雷引下线设计上,为实现构件之间连成电气贯通满足防雷要求,就需要在预制构件内(主要指预制柱)设计附加专用导体。目前,上、下层预制柱内引下线连接节点在设计图上通常采用两根Ф10圆钢通过与预制柱内两根主筋连接并预留足够的长度于柱外作为附加专用导体。

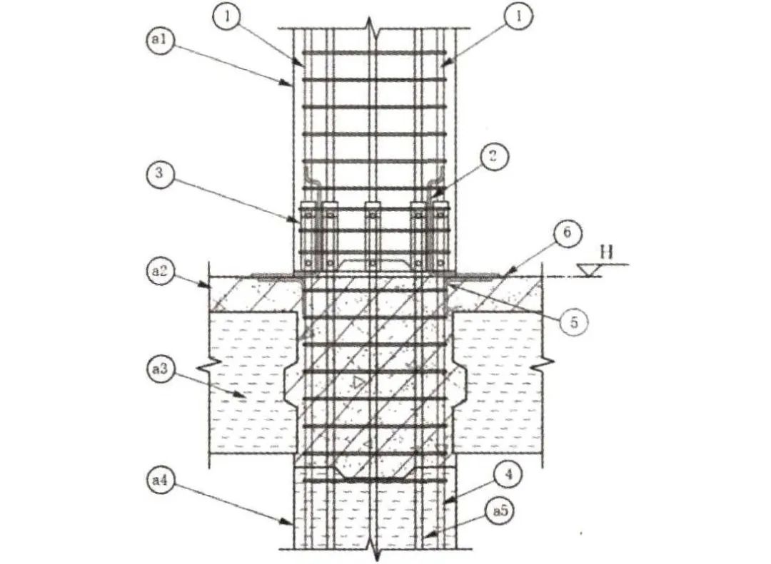
1.上部预制柱主筋;2.Ф10圆钢;3.灌浆套筒;4.下部预制柱主筋;5.Ф10圆钢;6.预埋接地连接板;a1.上部预制柱;a2.现浇楼板;a3.预制叠合梁;a4.下部预制柱;a5.预制柱内主筋

1.上部预制柱主筋;2.Ф10圆钢;3.灌浆套筒;4.预埋接地连接板;5-40*4镀锌扁钢;6.基础地梁内不小于Ф16两根钢筋;a3.预制柱内主筋;a4.上部预制柱;a6.桩基承台;a7.结构桩;a8.现浇柱
上图3为预制柱间引下线的连接大样图,图中①为用作防雷引下线的上部预制柱主筋;②为采用010圆钢作为附加专用导体,在预制柱生产时与用作防雷引下线的上部预制柱主筋①焊接(焊接长度60mm),并由预制柱底部引出;③为灌浆套筒,在预制柱生产时与上部预制柱主筋通过螺纹连接预埋于上部预制柱底部;④为用做防雷引下线的下部预制柱主筋,现场装配时,首先利用Ф10圆钢⑤与用做防雷引下线的下部预制柱主筋④焊接(焊接长度60mm),并由预制柱顶部引出至叠合板现浇层内,在叠合板现浇面层设置预埋接地连接板⑥,并与Ф10圆钢⑤焊接;在上部预制柱安装到位后,将附加专用导体②与预埋接地连接板⑥焊接(焊接长度60mm),完成上、下层预制柱内引下线钢筋的相互连接。上图4为首层预制柱内引下线钢筋与现浇柱的连接大样,其做法与图3雷同。
装配式建筑防雷引下线施工难点
上述装配式建筑防雷引下线设计虽然实现构件之间连成电气贯通满足防雷要求,但在施工过程中却存在如下几点问题:
(1)由预制柱底部引出的Ф10圆钢在预制构件运输及吊装过程若保护不到位易出现折弯、折断现象,一旦出现上述情况便失去引下线的作用。图5为施工现场常用的预制柱引下线设计成品照片。

图5 常用的预制柱引下线设计成品照片
(2) 图3中预埋接地连接板⑥设置在现浇层内,应满足与楼板结构面平齐方能使上部预制构件落位后与附加专用导体②焊接。然而,在现场施工过程中预埋接地连接板⑥的安装高度难把控,施工中接地连接板往往存在高出或低于结构面,当高出结构面时,其50mm的建筑面层无法将其完全隐蔽;当低于结构面时,必须通过凿打结构面找出预埋接地连接板,而凿打后的结构面坑坑洼洼存在质量缺陷问题。图6、图7为预埋接地连接板⑥在施工现场常见的质量问题照片。

图6 施工现场常见质量问题照片1

图7 施工现场常见质量问题照片2
(3) 由于预埋接地连接板采用镀锌钢板,其表面较为光滑,当预埋高度低于结构面,经过凿打找出的接地连接板,易导致其底部与结构脱离从而产生空鼓的现象,而空鼓处一旦有积水将会腐蚀附加专用导体②以及预埋接地连接板⑥,存在雷电安全隐患。
(4)在上部预制柱吊装落位后,预制柱底部预留的附加专用导体②必须经过折弯并甩岀至结构面,然后与设置在叠合板现浇面层的预埋接地连接板⑥焊接,附加专用导体②在折弯过程易挡住相邻灌浆套筒的底部出浆孔,影响该处灌浆套筒的灌浆质量,存在质量安全隐患。
装配式建筑防雷引下线施工要点
为了提高防雷引下线在装配式建筑中的施工质量,针对施工中可能存在的问题提岀以下几点看法:
(1)在预制构件吊装运输前,应先开展预制构件吊装施工技术及安全技术交底工作,提高施工人员的施工安全意识与预制构件成品保护意识,使成品预制构件的损坏率降低为零,从而保证成品构件功能的完整性。
(2)完善相关生产责任制,划分好各项施工任务并落实相关责任人,提高施工人员责任意识。施工前应对施工班组进行施工技术交底。施工时应严格按照施工工序开展施工作业。预埋件放样时可借助放样机器人、激光仪、水平仪等设备进行定位。施工过程中应有专人负责跟踪,严格把控接地连接板安装高度。施工完毕应对每处预埋点位进行标高复合,从而提高预埋接地连接板的准确度和施工质量。
(3)在上部预制柱吊装前,应先对附加专用导体的Ф10圆钢做折弯处理,避开预制柱底部灌浆套筒的出浆孔,待上部预制柱吊装落位后再进行焊接工作。对附加专用导体与接地连接板焊接长度无法满足≥60mm时,可通过圆钢进行跨接,再与预埋接地连接板有效焊接,严禁通过敲打拗弯附加专用导体来满足与接地连接板的焊接长度,圆钢与圆钢间应上下搭接双面施焊。
防雷引下线在装配式建筑中的设计建议
与传统建筑防雷引下线施工相比,装配式建筑防雷引下线的施工工序多,且耗时、耗工、耗材料。目前,装配式建筑对于机电安装专业来说,其并未在安装上带来效益,反而提高了机电安装专业施工难度。为解决装配式建筑在机电安装专业存在的问题,实现装配式建筑真正的高效施工优势,应从装配式建筑设计源头上解决上述存在的问题。
根据装配式建筑的特点,通过调整原有的防雷设计思路,从而提供一种装配式建筑防雷引下线新型连接装置及其施工方法。该防雷引下线的连接装置结构简单可靠,在不影响结构钢筋套筒连接的力学性能和装配式简易施工的前提下,实现将装配式混凝土结构中竖向结构构件的结构钢筋作为防雷接地引下线,从而节约施工成本,缩短施工工期,还解决了原有装配式建筑防雷引下线设计所带来的施工难题。

1.上部预制柱主筋;2,Ф10圆钢;3.-40 X 4镀锌扁钢;4.下部预制柱主筋;5.Ф10圆钢;a1.上部预制柱;a2.下部预制柱;a3.灌浆套筒
图8为装配式建筑防雷引下线新型连接装置示意图,图中①为用做防雷引下线的上部预制柱主筋;②为采用Ф10圆钢作附加专用导体;③为-40x4镀锌扁钢,长度为150mm,在预制柱生产时将-40x4镀锌扁钢预埋于上部预制柱的柱脚凹槽内,其正面与凹槽面平齐,凹槽深50mm。在镀锌扁钢的背面则通过Ф10圆钢②与防雷引下线的上部预制柱主筋①进行跨接,两端跨接长度为60mm。上述施工作业均在预制构件厂完成,预制柱的成品样式如图9所示。

图9 预制柱成品图
图8中④为用作防雷引下线的下部预制柱主筋,在叠合板现浇层浇筑前,首先利用Ф10圆钢⑤的一端与用作防雷引下线的下部预制柱柱头主筋④焊接(焊接长度60mm);另一端则伸出现浇层结构面,在上部预制柱安装到位后,通过Ф10圆钢⑤与-40x4镀锌扁钢③焊接(焊接长度60mm),最终实现上、下层预制柱内的防雷引下线连成电气贯通满足防雷要求。图10为装配式建筑防雷引下线施工效果图。

图10 装配式建筑防雷引下线施工效果图
调整后的装配式建筑防雷引下线设计取消了预制柱底部预留的Ф10圆钢引下线,改为镀锌扁钢预埋在预制柱的柱脚凹槽内,从根源上解决了防雷引下线在安装过程中的施工质量问题,杜绝了上述问题而带来的质量安全隐患。而且该装配式建筑防雷引下线新型连接装置不仅便于预制构件的成品保护,还简化了防雷引下线安装的施工工序,有效地提高了防雷引下线安装施工效率,且更好地融合了装配式建筑的高效施工设计思路。
结语
本文归纳、总结了现阶段装配式混凝土结构建筑防雷引下线设计的施工要点和措施,通过防雷引下线设计在装配式建筑施工中存在的问题进行分析与探讨,并根据装配式建筑的特点提出不同的防雷引下线设计思路,形成了一种装配式建筑防雷引下线新型连接装置及施工方法,解决装配式建筑的防雷引下线施工难题,供设计人员与施工人员参考。
参考文献
[1] 王腾.装配式混凝土结构住宅防雷接地设计[J].建筑电气,2015,34(10):59-60.
[2] 装配式混凝土建筑技术标准:GB/T 51231-2016[S].北京:中国建筑工业出版社,2017.
[3] 建筑物防雷设计规范:GB50057-2010 [S].北京:中国计划出版社,2011.
[4] 雷电防护第3部分:建筑物的物理损坏和生命危险:GB/T21714.3-2015/IEC 62305-3:2010[S].北京:中国标准出版社,2015.
[5] 李慧,徐建兵.装配式混凝土结构建筑雷电防护装置设计[J].建筑电气,2017.36(6):9-10.
以上内容来源于网络收集整理,如有侵权请联系客服