本文图文解析了钢筋下料长度计算的三个公式,分别对应:①直钢筋、②弯起钢筋、③箍筋,轻松看懂之后,对现场工作很有帮助!
在钢筋混凝土结构工程中,有许多形状各异、功能不同的钢筋,比如纵筋、分布筋、拉结筋、箍筋、弯起钢筋、架立筋、马凳筋等等,这些钢筋共同组成了结构构件的钢筋骨架,共同发挥各自的作用。

但是从钢筋厂家运进施工现场的钢筋可不是这个样子的。都是一根根长度相等的直线状态的钢筋捆在一起,比如有9米的,也有12米的,像下面这样:

还有曾经比较常见的圆盘条,主要是光圆钢筋,现在已经不常用了。
因此,就要通过钢筋工把进场的直线状态的钢筋加工成我们所需要的样子,也就是配筋图要求的样子。这时候就必然出现钢筋的弯曲、搭接、焊接、切断。而这种成型钢筋,到底需要多少进场钢筋才能加工出来,也就是确定成型钢筋在直线状态下需要多少长度,这样才能对进场钢筋进行准确切割。
这是一个很复杂的工作。这个工作就叫做钢筋下料。
而在钢筋下料中,对钢筋长度影响最为复杂的就是钢筋的弯曲。
作为一种具有良好变形性能的建筑材料,钢筋弯曲的特点是在弯曲处内皮缩短,外包尺寸伸长,而中心线尺寸不变(如下图所示),所以我们只要把握住中心线尺寸,就可以得到钢筋的下料长度。

搞清了这个问题,就可以准确的进行下料长度计算了。钢筋下料长度计算主要有三个公式,分别对应直钢筋、弯起钢筋和箍筋,下面我们一一介绍一下:
一 直钢筋
直钢筋下料长度=构件长度-保护层厚+弯钩增加长度+钢筋搭接长度
上述公式中,构件长度、保护层厚度、钢筋搭接长度都可以通过结构施工图纸、《混凝土结构工程施工质量验收规范》、16G101图集得到准确的数据,而弯钩增加长度需要结合我们前面讲的“弯曲处内皮缩短,外包尺寸伸长,而中心线尺寸不变”按照16G101图集的规定进行计算。
首先确定弯弧内直径D和弯钩平直段长度(钢筋直径为d)。
对于光圆钢筋,末端为混凝土保护层,内径D一般取2.5d,弯钩平直段取3d,如下图所示(180度半圆弯钩):

这样就可以计算出其弯钩增加长度为6.25d。如下图所示:

同样的,当弯钩角度为90度(直弯钩)和135度(斜弯钩)时,也可以计算出弯钩增加长度分别为3.5d和4.5d。
对于335Mpa级、400Mpa级带肋钢筋,如果没有特别的图示说明,其锚固长度就是足够的,不用考虑弯钩增加长度,一般也不用考虑混凝土保护层厚度,直接考虑锚固长度即可。如果需要做弯钩时,一般做135度或90度弯钩,内径D一般不小于4d,弯钩平直段要符合设计要求,由此也可计算出其弯钩增加长度。如下图所示:

计算出了弯钩增加长度,就可以很容易的算出直钢筋的下料长度了。
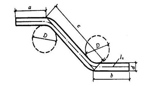
二 弯起钢筋
弯起钢筋下料长度=直段长度+斜段长度-弯曲调整值+弯钩增加长度+钢筋搭接长度
对于弯起钢筋下料计算公式,钢筋搭接长度同样可以通过图纸、规范和图集进行确定,弯钩增加长度前面已经介绍过其计算方法,关键需要理解的就是前面三项:直段长度+斜段长度-弯曲调整值:
这其实还是根据我们前面介绍的钢筋弯曲的特点来确定的。直段长度+斜段长度就是钢筋的外包长度,弯曲调整值就是钢筋弯曲处外包长度与轴线长度之间的差值,两者之差就是弯曲后钢筋的中轴线长度,也就是下料长度。如下图所示:

而弯曲调整值可以根据不同的弯曲角度进行取值。一般来说,可以按下表取值:

搞清了公式中每一项的具体内容,就可以得到整个弯起钢筋的下料长度了。
三 箍筋
箍筋下料长度=箍筋周长+箍筋调整值
这个公式其实是很笼统的,个人感觉有些耍流氓,因为单纯看这个公式根本不知道具体该怎么算。我们索性抛开这个公式,具体分析一下。
首先,箍筋的详图一般是下面这样的:

也就是箍筋的周长有两种:一种是外皮周长=2(a+b);一种是内皮周长=2(c+e)。
然后,根据规范和标准图集的要求,箍筋的基本情况如下:
(1)箍筋一般为光圆钢筋,弯弧内直径可取箍筋直径的2.5倍且不小于受力钢筋直径。
(2)箍筋弯钩的弯折角度:对一般结构不应小于90度,对有抗震要求的结构应为135度(这个是大部分的情况)。
(3)箍筋弯后平直部分长度:对一般结构可取不小于箍筋直径的5倍,对有抗震等要求的结构可取箍筋直径的10倍。
明确了以上的要求,再结合我们上面探讨过的弯曲调整计算方法,就可以得到不同情况下的箍筋下料长度。有一位前辈对此做了详细的分析,分析结果如下(d为箍筋直径):
抗震结构:135度弯钩箍筋的下料长度 = 2(c+e)+26.5d 或 2(a+b)+18.5d。
一般结构:135度弯钩箍筋的下料长度 = 2(c+e)+16.5d 或 2(a+b)+8.5d。
我觉得这个分析结果还是比较准确的。
以上就是不同情况下钢筋计算的基本方法。在实际操作中还需要结合具体情况具体分析,熟悉图纸和规范以及标准图集,严谨认真,算无遗漏,才能准确无误的做好钢筋下料计算的工作。
