一、系统篇
二、管材篇
三、规范篇
收藏学习,一文看懂“给排水工程”!
一
系统篇
建筑给排水系统的组成分类繁多,我们着重捋一捋室内给排水系统常见的6种给水方式和3种排水方式。

一室内给水系统

室内给水系统的6种方式:
1、直接给水方式

2、设水泵给水方式

3、气压给水方式

4、设水泵和水箱给水方式

5、分区给水方式
6、设水箱给水方式

二室内排水系统

室内排水系统的3种方式:
建筑内部污废水排水管道系统按排水立管和通气立管的设置情况分为:
1、单立管排水系统
2、双立管排水系统
3、三立管排水系统
二
管材篇
给排水工程种用到的管材种类繁多,本文总结常用的16种管材,全面介绍。
1硬聚氯乙烯(PVC-U)管

PVC-U管道是以卫生级聚氯乙烯(PVC)树脂为主要原料,加入适量的稳定剂、润滑剂、填充剂、增色剂等经塑料挤出机挤出成型和注塑机注塑成型,通过冷却、固化、定型、检验、包装等工序以完成管材、管件的生产。
PVC-U管道的优点:重量轻、耐腐蚀、水流阻力小、节约能源、安装迅捷、造价低。
应用范围:城镇自来水输水供水工程、建筑内外供水工程、工矿企业供水工程、地埋消防供水工程、农田水利输水灌溉工程、园林园艺绿化供水工程、水产养殖业供水排水工程等。
2无规共聚聚丙烯(PP-R)给水管

PP-R管又叫三型聚丙烯管,采用无规共聚聚丙烯经挤出成为管材,注塑成为管件。是欧洲90年代初开发应用的新型塑料管道产品。PP-R是80年代末,采用气相共聚工艺使5%左右PE在PP的分子链中随机地均匀聚合(无规共聚)而成为新一代管道材料。它具有较好的抗冲击性能和长期蠕变性能。
PPR管优点:价格适中、性能稳定,耐热保温,耐腐蚀,内壁光滑不结垢、管道系统安全可靠,并不渗透,使用年限可达50年。号称永不结垢、永不生锈、永不渗漏、绿色高级给水材料。
PPR管缺点:施工技术要求高,需采用专用工具及专业人士进行施工,方能确保系统安全。
PPR管材应用领域:
1、建筑物的冷热水系统,包括集中供热系统;
2、建筑物内的采暖系统、包括地板、壁板及辐射采暖系统;
3、可直接饮用的纯净水供水系统;
4、中央(集中)空调系统;
5、输送或排放化学介质等工业用管道系统。
3铝塑复合给水管
铝塑复合管是最早替代铸铁管的供水管,其基本构成应为五层,即由内而外依次为塑料、热熔胶、铝合金、热熔胶、塑料。
铝塑复合管有较好的保温性能,内外壁不易腐蚀,因内壁光滑,对流体阻力很小;又因为可随意弯曲,所以安装施工方便。
市场上主要有三种铝塑给水管:
1、PE/AL/PE
(Polyethylene/Aluminum/Polyethylene);
2、PE/AL/PEX
(Polyethylene/Aluminum/Crosslinked Polyethylene);
3、PEX/AL/PEX
(Crosslinked Polyethylene/Aluminum/Crosslinked Polyethylene)。
第一种是内外层为聚乙烯,第二种是内层为交联聚乙烯,外层为聚乙烯,第三种是内外层均为交联聚乙烯,中部层均为铝层。第一种一般用于冷水管道系统,后两种一般用于热水管。
4铜管
又称紫铜管。有色金属管的一种,是压制的和拉制的无缝管。
优点:铜管质地坚硬,不易腐蚀,且耐高温、耐高压,是最好的给水管材。
缺点:价格高。
5薄壁不锈钢管

壁厚为0.6~2.0mm的不锈钢带或不锈钢板,用自动氩弧焊等熔焊焊接工艺制成的管材。
国内薄壁不锈钢水管是20世纪90年代末才问世的新型管材,由于其具有安全卫生、强度高、耐蚀性好、坚固耐用、寿命长、免维护、美观等特点,目前不锈钢水管发展势头强劲,已大量应用于建筑给水和直饮水管道。
薄壁不锈钢管(Light gauge stainless pipes)具有以下突出的优势:卓越的力学性能、超群的耐磨损性能、安全卫生性能好、良好的耐温性能、保温性能较好、内壁光滑水阻小;外表美观、清洁、时尚,100%可回收再利用;有利于节约水资源;使用范围广;使用寿命长综合成本低。
6热浸镀锌钢管

镀锌钢管分为冷镀锌管、热镀锌管,前者已被禁用。热镀锌管是使熔融金属与铁基体反应而产生合金层,从而使基体和镀层二者相结合。热镀锌是先将钢管进行酸洗,为了去除钢管表面的氧化铁,酸洗后,通过氯化铵或氯化锌水溶液或氯化铵和氯化锌混合水溶液槽中进行清洗,然后送入热浸镀槽中。热镀锌具有镀层均匀,附着力强,使用寿命长等优点。热镀锌钢管基体与熔融的镀液发生复杂的物理、化学反应,形成耐腐蚀的结构紧密的锌一铁合金层。合金层与纯锌层、钢管基体融为一体。故其耐腐蚀能力强。
7焊接钢管
可分为直缝焊管和螺旋焊管。可在消防供水管网中使用。具有强度高,抗应变能力强的优点,但是其耐腐蚀性能差,应作防腐处理。同管径的钢管具有不同的厚度,所以在选择的时候应注明壁厚。
直缝焊管:生产工艺简单,生产效率高,成本低,发展较快。
螺旋焊管:强度一般比直缝焊管高,能用较窄的坯料生产管径较大的焊管,还可以用同样宽度的坯料生产管径不同的焊管。但是与相同长度的直缝管相比,焊缝长度增加30~100%,而且生产速度较低。因此,较小口径的焊管大都采用直缝焊,大口径焊管则大多采用螺旋焊。
8氯化聚氯乙烯(PVC-C)给水管
PVC-C树脂为母料,加入抗冲剂,稳定剂等辅料经高速挤出而成。
其特点:
1、坚固:由于PVC-C较PP-R、PB和PEX坚固,故只需较少的挂钩和支架。PVC-C可耐较大的压力,在同一流率下,与PP-R、PB和PEX管比较,PVC-C管可使用较小的管径。
2、安装方便:使用专用熔合剂即可连接,安装时无需专用工具,即适用于明装,也适用于暗装。
3、耐腐蚀:PVC-C不易透氧,因此系统内的金属件不会因氧化而导致腐蚀。
4、良好的阻燃性:PVC-C的氧指数为60,燃烧能力很低,离火即熄,不会产生火滴,更能抑制烟雾和有毒气体的产生。
5、不受余氯的影响:与聚烯烃管材不同,PVC-C管长期使用后,不受水中余氯的影响,不会出现裂痕和崩漏。
6、耐酸碱:PVC-C不论对酸或对碱都有较强的防腐能力,可用作输送HCL与NaOH液体。
7、细菌不易繁殖:经过很多测试证实,PVC-C管内细菌不易孳生,其细菌增长率为PEX管的1/60,铜管的1/10,钢管的1/4。其水样中军团菌数测试量为PEX管的1/13,PP-R管的1/17。
8、低的热膨胀系数和耐老化性能:相对其它塑料管来说,PVC-C管的热膨胀系数较小,约为PP-R、PB和PEX等其他塑料管的1/2。PVC-C管具有较强的抗紫外线能力,可以在户外使用,而一般的聚烯烃管不能。
9、优越的卫生性能标准:PVC-C冷热水管经许多国际性水质卫生权威机构的测试,其结果优于世界卫生组织及中华人民共和国卫生部等机构对饮用水方面的标准。
9聚乙烯(PE)管

PE管加工时不添加重金属盐稳定剂,材质无毒性,无结垢层,不滋生细菌,很好地解决了城市饮用水的二次污染。除少数强氧化剂外,可耐多种化学介质的侵蚀;无电化学腐蚀。在额定温度、压力状况下,PE管道可安全使用50年以上。PE管韧性好,耐冲击强度高,重物直接压过管道,不会导致管道破裂。PE管热熔或电熔接口的强度高于管材本体,接缝不会由于土壤移动或活载荷的作用断开。管道质轻,焊接工艺简单,施工方便,工程综合造价低。
10丙烯腈-丁二烯-苯乙烯(ABS)工程塑料给水管

制造管材的材料为丙烯睛一丁二烯一苯乙烯的混配料,其中以ABS树脂为主,仅加入为提高其物理、力学性能及加工性能所需的添加剂,添加剂应分散均匀。丙烯腊一丁二烯一苯乙烯密度(kg/m3)为:1000≤ρ≤l070。丙烯腊一丁二烯一苯乙烯原料中丙烯睛应大于20(质量分数),其它组成不大于5%(质量分数)。原料应制成管材,按GB/T 18252规定进行试验,最小要求强度MRS≥14 MPa,总体使用(设计)系数C最小值为1. 6。
ABS管及管件的生产应符合GB/T 20207的规定。用于输送饮用水的氯化聚氯乙烯管道系统应符合GB/T 17219-1998的要求。
根据材料的耐化学性及卫生性,适用于承压给排水输送、污水处理与水处理、石油、化工、电力电子、冶金、采矿、电镀、造纸、食品饮料、空调、医药等工业及建筑领域粉体、液体和气体等流体的输送。
11涂塑钢管

钢塑复合管,产品以无缝钢管、焊接钢管为基管,内壁涂装高附着力、防腐、食品级卫生型的聚乙烯粉末涂或环氧树脂涂料。口径范围 DN15--DN1200可带法兰及带压槽涂装。长度 6m、9m、12m及不定尺长度涂层壁厚 100微米~500微米之间,通常为350微米。
产品特性:
1、卫生无毒、不积垢,不滋生微生物、保证流体品质。
2、耐化学腐蚀、耐土壤和海洋生物腐蚀,耐阴极剥离。
3、安装工艺成熟、方便快捷、与普通镀锌管连接雷同。
4、耐候性好,适用沙漠、盐碱等苛刻环境。
5、管壁光滑、提高输送效率、使用寿命长。常见的钢塑复合管有:钢衬聚丙烯复合管(GSF.PP),钢衬聚氯乙烯复合管(GSF.PVC),钢衬聚乙烯复合管(GSF.PE),钢衬聚四氟乙烯复合管(GSF.F4)。
12衬塑钢管
可分为直缝焊管和螺旋焊管。可在消防供水管网中使用。具有强度高,抗应变能力强的优点,但是其耐腐蚀性能差,应作防腐处理。同管径的钢管具有不同的厚度,所以在选择的时候应注明壁厚。
直缝焊管:生产工艺简单,生产效率高,成本低,发展较快。
螺旋焊管:强度一般比直缝焊管高,能用较窄的坯料生产管径较大的焊管,还可以用同样宽度的坯料生产管径不同的焊管。但是与相同长度的直缝管相比,焊缝长度增加30~100%,而且生产速度较低。因此,较小口径的焊管大都采用直缝焊,大口径焊管则大多采用螺旋焊。
13铸铁管
球墨铸铁管为铸铁管的一种,用作埋地敷设的给水管。
其优点是,和钢管比价格便宜,制造简易,耐腐蚀性强;缺点是质脆,重量大。
有资料显示具有DN40~DN80之间的管道,但设计手册上仅列出DN80以上的规格。无因为公称压力带来的管壁厚度变化,无需指明公称压力级别。
14高密度聚乙烯(HDPE)排水管

HDPE是一种结晶度高、非极性的热塑性树脂。原态HDPE的外表呈乳白色,在微薄截面呈一定程度的半透明状。在给排水管道系统中,塑料管材逐渐取代了铸铁管和镀锌钢管等传统管材成为了主流使用管材。塑料管和传统管材相比,具有重量轻,耐腐蚀,水流阻力小,节约能源,安装简便迅速,造价较低等显著优势,受到了管道工程界的青睐。
HDPE管道主要用于:市政工程供水系统,建筑物室内给水系统,室外埋地给水系统及居住小区、厂区埋地给水系统,旧管线修复,水处理工程管道系统,园林、灌溉及其他领域的工业用水管等。
15增强聚丙烯(FRPP)模压管
玻纤增强聚丙烯(FRPP)管采用经偶联剂处理的玻璃纤维改性聚丙烯原料生产。产品具有耐腐蚀、强度高、抗渗漏、内阻小、抗拉、抗弯、造价低、寿命长、安装维修方便等特点,广泛应用于石油、化工、电力、纺织、冶金、制药、造纸、食品、矿山、垃圾处理、建筑等行业,用作腐蚀性液体输送及工艺管道,深受用户信赖。
16玻璃纤维增强塑料夹砂(RPM)管

该管材是以高强的玻璃钢作为内外增强层、中间以价廉的石英砂/树脂作芯层用以提高管材刚度,再辅以韧性的耐酸碱腐蚀的内衬层和满足工作环境要求的外保护层构成复合管壁结构。RPM管可采用离心浇铸或缠绕工艺生产管材。因而有复合管缠绕管复合管和离心浇铸管两种类型。采用离心浇铸工艺时,玻璃纤维采用短切纤维;采用缠绕工艺时,玻璃纤维采用长纤维。离心浇铸的RPM管最大口径为2400mm,纤维缠绕的RPM管最大口径可达4000mm。为热固性塑料管材。
其特点是:1) 耐腐蚀性好。2) 轻质高强。3) 安装方便。4) 内表面光滑,具有较高的流通能力。5) 耐低温性能好。6) 隔热性能好。
三
规范篇
《建筑给水排水及采暖工程施工质量验收规范》是给排水及采暖施工应遵照的最基本规范,是保证工程安全、使用功能、人体健康、环境效益和公众利益的标准,其中的20条强制性条文更是施工质量的底线,在施工中需要对此了然于心,不得随意违反。
1
3.3.3 地下室或地下构筑物外墙有管道穿过的,应采取防水措施。对有严格防水要求的建筑物,必须采用柔性防水套管。
外墙防水套管安装

刚性和柔性防水套管
防水套管安装要求:
1、防水套管结构形式分为柔性防水套管(A/B管型)、刚性防水套管(A/B/C型)及刚性防水翼环三种类型。
2、柔性防水套管适用于有地震设防要求的地区,管道穿墙处承受振动和管道伸缩变形、或有严密防水要求的构(建)筑物外墙。
3、当穿墙管与泵或增压设备连接的进、出管道时,宜在连接处设置柔性连接。
4、刚性防水套管适用于管道穿墙处不承受管道振动和伸缩变形的构(建)筑物,对于地震设防要求的地区,如采用刚性防水套管,应在进入池壁或建筑物上墙的管道上就近设置柔性连接,A型适用于钢管,B、C型适用于球墨铸铁管。

柔性套管安装示意图
2
3.3.16 各种承压管道系统和设备应做水压试验,非承压管道系统和设备应做灌水试验。

风机盘管进场试验
水压试验要求:
1、金属及复合管道系统在试验压力下观测10min,压力降不大于0.02Mpa,然后降至工作压力进行检查,应不渗不漏;塑料管给水系统应在试验压力下稳压1h,压力降不得超过0.05Mpa,然后在工作压力1.15倍状态下稳压2h,压力降不得大于0.03Mpa,同时检查各连接处不得渗漏。
2、喷淋系统水压强度试验的测试点应设在系统管网的最低点。对管网注水时,应将管网内的空气排净,并应缓慢升压,达到试验压力后,稳压30min后,管网应无泄漏、无变形,且压力降不应大于0.05MPa。严密性试验压力应为设计工作压力,稳压24h应无泄漏。
3、低辐热管道,在试验压力下稳压1h内压力降不大于0.05Mpa且不渗不漏。
3
4.1.2 给水管道必须采用与管材相适应的管件,生活给水系统所涉及的材料必须达到饮用水卫生标准.。

给水管道疾控中心检测报告
4
4.2.3 生活给水系统管道在交付使用前必须冲洗和消毒,并经有关部门取样检验,符合国家《生活饮用水标准》方可使用。
检验方法:检查有关部门提供的检测报告。区县疾病预防控制中心现场取样检验,并出检测报告。

给水管网交工后出具水质检测报告
5
4.3.1 室内消火栓系统安装完成后应取屋顶层(或水箱间内)试验消火栓和首层取二处消火栓做试射试验,达到设计要求为合格。
检验方法:实地试射检查。
试射要求:试射仰角约为45~60°,充实水柱长度100m以下建筑为10m,超过100m的充实水柱为13m。
充实水柱长度:由水枪喷嘴起到射流90%水柱水量穿过直径为38cm圆圈处的一段射流长度。

屋顶消火栓的喷射试验
6
5.2.1 隐蔽或埋地的排水管道在隐蔽前必须做灌水试验,其灌水高度应不低于底层卫生器具的上边缘或底层地面高度。
排水管道灌水要求:
1、满水15min水面不降后,再灌满5min,液面不降,管道及接口无渗漏为合格。
2、雨水管道灌水至每根立管上部的雨水斗,持续时间1h,不渗不漏。

雨水管和污水管的灌水试验

灌水后排水管道渗漏

吊顶后管道渗漏
7
8.2.1 管道安装坡度,当设计未注明时,应符合下列规定:
(1)气、水同向流动的热水采暖管道和汽、水同向流动的蒸汽管道及凝结水管道,坡度应为3‰,不得小于2‰;
(2)气、水逆向流动的热水采暖管道和汽、水逆向流动的蒸汽管道,坡度不应小于5‰;
(3)散热器支管的坡度应为1%,坡向应利于排气和泄水。
检验方法:观察,水平尺、拉线、尺量检查。

散热器安装,支管1%坡度
8
8.3.1 散热器组对后,以及整组出厂的散热器在安装之前应作水压试验。试验压力如设计无要求时应为工作压力的1.5倍,但不得小于0.6MPa。
检验方法:试验时间为2~3min,压力不降且不渗不漏。

整组散热器安装前的水压试验
9
8.5.1 地面下敷设的盘管埋地部分不应有接头。
检验方法:隐蔽前现场查看。

盘管埋地隐蔽无接头
10
8.5.2 盘管隐蔽前必须进行水压试验,试验压力为工作压力的1.5倍,但不得小于0.6MPa。
检验方法:稳压1h内压力降不大于0.05Mpa,且不渗不漏。

埋地盘管隐蔽前的水压试验
11
8.6.1 采暖系统安装完毕,管道保温之前应进行水压试验。试验压力应符合设计要求。当设计未注明时,应符合下列规定:
(1)蒸汽、热水采暖系统,应以系统顶点工作压力加0.1MPa作水压试验,同时在系统顶点的试验压力不小于0.3MPa。
(2)高温热水采暖系统,试验压力应为系统顶点工作压力加0.4MPa。
(3)使用塑料管及复合管的热水采暖系统,应以系统顶点工作压力加0.2MPa作水压试验,同时在系统顶点的试验压力不小于0.4MPa。
检验方法:使用钢管及复合管的采暖系统应在试验压力下10min内压力降不大于0.02MPa,降至工作压力后检查,不渗、不漏;使用塑料管的采暖系统应在试验压力下1h内压力降不大于0.05MPa,然后降压至工作压力的1.15倍,稳压2h,压力降不大于0.03MPa,同时各连接处不渗、不漏。
12
8.6.3 系统冲洗完毕应充水、加热,进行试运转和调试。
检验方法:观察、测量室温应满足设计要求。
13
9.2.7 给水管道在竣工后,必须对管道进行冲洗,饮用水管道还要在冲洗后进行消毒,满足饮用水卫生要求。
检验方法:观察冲洗水的浊度,查看有关部门提供的检验报告。
14
10.2.1 排水管道的坡度必须符合设计要求,严禁无坡或倒坡。
检验方法:用水准仪、拉线和尺量检查。

排水管道坡度达到设计要求
15
11.3.3 管道冲洗完毕应通水、加热,进行试运行和调试。当不具备加热条件时,应延期进行。
检验方法:测量各建筑物热力入口处供回水温度及压力。
16
13.2.6 锅炉的汽、水系统安装完毕后,必须进行水压试验。水压试验的压力应符合下表的规定。
水压试验压力规定
注:
1)工作压力P对蒸汽锅炉指炉筒工作压力,对热水锅炉指锅炉额定出水压力;
2)铸铁锅炉水压试验同热水锅炉;
3)非承压锅炉水压试验压力为0.2MPa,试验期间压力应保持不变。
检验方法:
1)在试验压力下10min内压力降不超过0.02MPa;然后降至工作压力进行检查,压力不降,不渗、不漏;
2)观察检查,不得有残余变形,受压元件金属壁和焊缝上不得有水珠和水雾。
17
13.4.1 锅炉和省煤器安全阀的定压和调整应符合下表的规定。锅炉上装有两个安全阀时,其中的一个按表中较高值定压,另一个按较低值定压。装有一个安全阀时,应按较低值定压。
安全阀定压规定
检查方法:检查定压合格证书。
18
13.4.4 锅炉的高低水位报警器和超温、超压报警器及联锁保护装置必须按照设计要求安装齐全和有效。
检验方法:启动、联动试验并作好试验记录。
19
13.5.3 锅炉在烘炉、煮炉合格后,应进行48h的带负荷连续试运行,同时应进行安全阀的热状态定压检验和调整。
检查方法:检查烘炉、煮炉及试运行全过程。
20
13.6.1 热交换器应以最大工作压力的1.5倍作水压试验,蒸汽部分应不低于蒸汽供汽压力加0.3MPa;热水部分应不低于0.4MPa。
检验方法:在试验压力下,保持10min压力不降。
四
施工篇
给排水工程是机电安装五大分部之一,也是贯穿建筑工程施工全过程的重要内容,本文是基于工程实例对给排水施工工艺的全流程解读,可供大家参考实施!
给排水工程施工工艺
▼
给水施工工艺流程图
排水施工工艺流程图
下面从这八个方面实例解读给排水施工
▼
①管道安装 ②管道封堵 ③水泵安装
④消防部件安装 ⑤屋面管道安装
⑥实验 ⑦成品保护 ⑧末端安装
一管道安装
1)支架选型
单根角钢支架,倒小圆角或切小斜角
角钢门字型吊架,下方切大斜角或小斜角
说明:
(1)整个工地风格需统一
(2)落地门型支架需煨弯,门字型吊架可煨弯或焊接连接
2)垂直管道安装
单管安装
1.槽钢 2.管码 3.管道
多管安装
1.角钢 2.连接板 3.管码 4.管道
说明:支架的槽钢或角钢规格根据荷载计算确定,支架形式也会根据承重有所变化
3)水平管道安装
单管安装(DN50~DN200)
1.角钢 2.连接板(8mm) 3.管码 4.管道
单管安装(DN100〜DN300)
1.角钢 2.连接板(10mm,做为承重支架,当使用80以上的角钢时采用) 3.管码 4.管道
单管安装(DN25~DN80)
1.角钢 2.连接板(6mm) 3.管码 4.管道
喷淋系统防晃支架
多管安装
1.支架横担 2.镀锌螺杆 3.管码 4.管道 5.顶爆螺栓 6.紧固螺栓
4)管道安装实例
垂直安装
管道安装前支架上下采用铁丝作垂直吊线,保证立管垂直度
水平安装
在施工前须在砼结构下弹控制线,保证支架在一直线上
垂直安装
水平安装
管道平行敷设,安装牢固,间距合理,标识清晰,穿板封堵美观
5)管道部件安装
检查口安装
排水立管检查口中心高度距操作地面为1m,朝向应便于检修,铸铁排水立管检查口之间的距离不宜大于10m,塑料排水立管每六层设置一个检查口
连接
用于室内排水的水平管道与水平管道、水平管道与立管的连接,应采用45°三通或45°四通和90°斜三通或90°斜四通,封堵止水环
6)水井安装
装表前应排净管内杂物,以防堵塞,水表应水平安装,箭头方向与水流方向一致
二管道封堵
1)管道封堵选型
2)管道封堵实例
穿板封堵要点
套管与管道对中,环缝一致,填料平整,标色分明
穿墙封堵要点
1、穿墙管道事先采用钢筋点焊固定预留套管
2、套管内部不能有接头,管道支架、阀门、接头等应该距离套管200mm以上
3、明装与装饰要求高的创优工程,套管外应设装饰盖,起到防火与美观的作用
3)透气管安装
透气管出屋面安装
1、套管周围在屋面混凝土找平层施工时,用水泥砂浆筑成锥形阻水圈
2、管道与套管间的环形缝隙应采用防水胶泥或无机填料嵌实
三水泵安装
1)基础设置
生活水泵房、消防水泵房基础边宜宽出设备底座100-150mm,水泵基础高度宜设置为200mm,并沿水泵周边设置宽度不少于200mm宽的排水沟
2)卧式水泵安装

3)立式水泵安装

1、立式水泵底座下应设槽钢基础,扩大立式水泵基础接触面积,增加水泵平稳牢固性;槽钢基础与水泵底座螺栓刚性连接
2、立式水泵不得采用弹簧减震器;大型立式水泵最好采用稳定性好的橡胶减震垫;多台立式泵可采取组合机组安装,增加水泵的整体稳定性
4)水泵安装实例
立式水泵
卧式水泵
1、水泵的进出口应设软接头
2、水泵都需接地
3、设备配管合理,附件成排成线,固定支架位置正确
5)潜污泵安装
1-潜污泵 2-出水管 3-挂钩 4-电缆 5-自动耦合装置 6-液位自动控制装置 7-集水井进水管
潜污泵泵坑在安装前必须清理泵坑中的杂物垃圾,避免潜污泵泵安装运行损坏
6)潜污泵安装实例

1、排水管伸入井坑时不得与井坑盖板接触,其间隙应为30—50mm
2、潜污泵排水管阀门与部件从下往上依次为:软接头—压力表—止回阀—闸阀,闸阀的安装高度为地坪完成面上1.5m,三通高度宜为地坪高度2m处
3、阀门与部件的两端,三通横管中部均设置支架,压力排水污废水管道指示与管道类别标示清楚,管道标志色为黑色
7)管道弯头辅助支座
图例

实例

柱管法兰盘距离地面完成面小于等于一米,管道直径为DN100〜150时,柱管为DN50;管道直径为DN200〜250 时,柱管为DN65mm;当设计另有减振要求时,需另考虑设置减振等
8)泵房落地支架护墩
图例

实例

1、连接板需用膨胀螺栓固定
2、水泥墩顶层表面需有5%的泄水坡度并刷漆
3、图示为一条管道的做法,多条管道时参照此做法
四消防部件安装
1)消防警铃安装


1、阀组排列整齐
2、水锣(水力警铃)设置在报警阀室外的走道内
3、成排安装水锣应标识清晰
4、阀组下应设置排水沟
5、报警控制管线应排列整齐
6、压力开关至接线盒的软管或软电缆长度一般不宜超过800mm
7、报警阀组控制区域应在管路上标识清晰
2)喷头支架设置
支架设置
3)特殊支架设置

喷淋管道末端应采用梯形防晃支架

1、无吊顶时设置上喷头;有吊顶时设置下喷头,当吊顶上方闷顶的净空高度超过800mm,且其内部有可燃物时,要求设置上喷头;喷头在系统冲洗试压合格后安装
2、当喷淋支管高度大于1000mm时,应设横向加强支架;末端支架与喷头之间的距离为400mm
4)喷头安装
喷头安装

1、直立型喷头安装距楼板顶部距离为100mm
2、有吊顶的下垂型喷头安装喷头根部应与吊顶平齐;为避免定位不准,可在吊顶龙骨标高确定后再安装下喷支管;下喷头与三通之间的短管长度不宜超过150mm
垂直安装

边墙型喷头安装离墙距离为50-100mm
水平安装

当梁、通风管道、排管、桥架宽度大于1.2 m时,增设的喷头应安装在其腹面以下部位;风管下喷头吊架应采取管道延长至风管另外一端边缘,并在延伸管道末端设置吊架
5)消防栓安装
安装要点

消火栓不在门轴侧,应在开启侧;消火栓口中心离地高度为1.1 米,允许偏差±10mm

阀门中心距箱侧面料140mm,距箱后内表面为100mm,允许偏差±5mm;消火栓箱体安装的垂直度偏差≤3mm
消火栓箱与各类装饰面配合安装做法

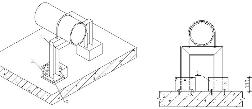
五屋面管道安装
管道支架安装

连接板必须在天面隔热层施工前置于保护层上,禁止用膨胀螺栓固定,水泥墩顶层表面需有5%的泄水坡度
透气管安装

上人屋面透气管高度≮2米,不上人屋面透气管高度≮0.3米,且必须大于当地积雪高度;金属管道与支架应该采取接地措施
六实验
一、各种承压管道系统和设备应做水压试验,非承压管道系统和设备应做灌水试验
1、隐蔽或埋地的排水管道在隐蔽前必须做灌水试验,其灌水高度应不低于底层卫生器具的上边缘或底层地面高度。
检验方法:满水15min水面下降后,再灌满观察5min,液面不降,管道及接口无渗漏为合格。
2、安装在室内的雨水管道安装后应做灌水试验,灌水高度必须到每根立管上部的雨水斗。
检验方法:灌试验持续1h,不渗不漏。
3、敞口水箱的满水试验和密闭水箱(罐)的水压试验必须符合设计与本规范的规定。
检验方法:满水验静置24h,观察不渗不漏;水压试验在试验压力下10min压力不降,不渗不漏。
4、室外排水管道埋设前必须做灌水试验和通水试验,排水应畅通,无堵塞,管接口无渗漏。
检验方法:按排水检查井分段试验,试验水头应以试验段上游管顶加1m,时间不少于30min,逐段观察。
二、强度严密性试验
室内给水管道的水压试验必须符合设计要求。当设计未注明时,各种材质的给水管道系统试验压力均为工作压力的1.5倍,但不得小于0.6MPa。金属及复合管给水管道系统在试验压力下观测l0min,压力降不应大于0.02MPa,然后降至工作压力进行检查,应不渗不漏;塑料管给水系统应在试验压力下稳压1h,压力降不得超过0.05MPa,然后在工作压力的1.15倍状态下稳压2h,压力降不得超过0.03MPa,同时检查各连接处不得渗漏。
三、通水试验
1、给水系统交付使用前必须进行通水试验并做好记录。
检验方法:观察和开启阀门、水嘴等放水。
2、卫生器具交工前应做满水和通水试验。
检验方法:满水后各连接件不渗不漏;通水试验给、排水畅通。
四、通球试验
排水主立管及水平干管管道均应做通球试验,通球球径不小于排水管道管径的2/3,通球率必须达到100%。试验方法:
1、排水立管应自立管顶部将试球投入,在立管底部引出管的出口处进行检查,通水将试球从出口冲出。
2、横干管及引出管应将试球在检查管管段的始端投人,通水冲至引出管末端排出。室外检查井(结合井)处需加临时网罩,以便将试球截住取出。
七成品保护
设备保护

设备就位后成品保护

水泵就位后成品保护
管道保护

管井排水管成品保护

卫生间排水主管与支管保护
八末端安装

洁具安装位置、标高准确,与土建装饰相协调

小便器、感应器安装居中,高度一致,地面砖与墙面砖对缝
